425х50х4х110 Диск пильный
Код: SB000978
Наименование
425х50х4х110 Диск пильный
Код товара
SB000978
Артикул
425х50х4х110
Предназначение
Резка тонкостенных труб, профилей и нержавеющей стали.
Совместимость
Ручные, полуавтоматические, автоматические летучие пилы,
труборезные станки
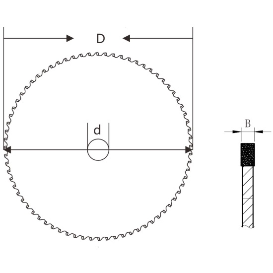
Диаметр диска (D), мм
425
Диаметр посадки (d), мм
50
Толщина пропила (B), мм
4
Кол-во зубьев (Z), шт.
110










