350х40х3,5х180 Диск пильный
Код: SB000579
Наименование
350х40х3,5х180 Диск пильный
Код товара
SB000579
Артикул
350х40х3,5х180
Предназначение
Резка тонкостенных труб, профилей и нержавеющей стали.
Совместимость
Ручные, полуавтоматические, автоматические летучие пилы,
труборезные станки
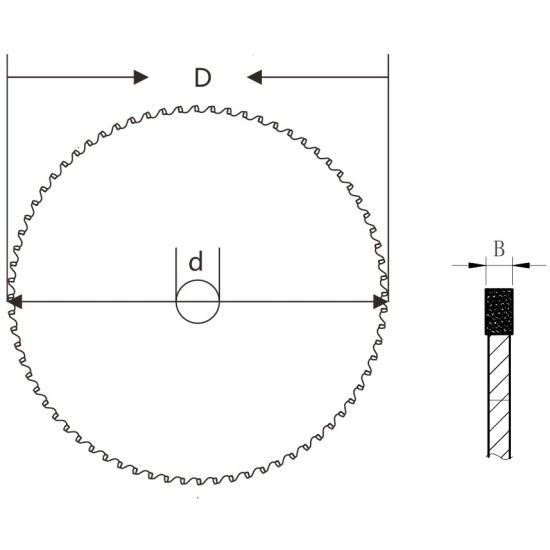
Диаметр диска (D), мм
350
Диаметр посадки (d), мм
40
Толщина пропила (B), мм
3.5
Кол-во зубьев (Z), шт.
180










