550х90х3,6х120Т Диск пильный
Код: SB000076
Наименование
550х90х3,6х120Т Диск пильный
Код товара
SB000076
Артикул
550х90х3,6х120Т
Предназначение
Резка "на лету" в линиях непрерывного производства
Совместимость
Летучая холодная дисковая пила, летучая фрезерно-копировальная пила
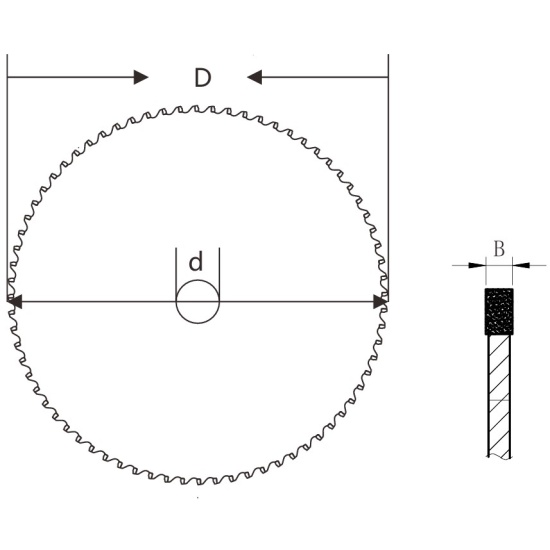
Диаметр диска (D), мм
550
Диаметр посадки (d), мм
90
Толщина пропила (B), мм
3.6
Кол-во зубьев (Z), шт.
120










